ICF会员费用定价
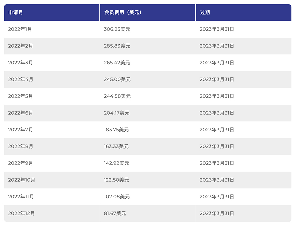
新的ICF会员资格按月按比例分配。4月30日后加入ICF的新会员将根据ICF会员年度剩余的月数按比例缴纳会费。1月、2月或3月加入ICF的新成员将根据当前ICF会员年度剩余的月数加上下一个ICF会员年的所有12个月按比例缴纳会费。
阅读 706
新的ICF会员资格按月按比例分配。4月30日后加入ICF的新会员将根据ICF会员年度剩余的月数按比例缴纳会费。1月、2月或3月加入ICF的新成员将根据当前ICF会员年度剩余的月数加上下一个ICF会员年的所有12个月按比例缴纳会费。